Назад

Заказы на запчасти принимаются строго через сайт путем добавления в корзину или лично в магазине.


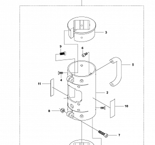
3 ТРАНСПОРТИРОВКА | DS70 AT, 2008-05 стойка для бурения Husqvarna | алмазное бурение |

Ссылка Артикул Наименование детали (Примечание) Используется штук Цена Кол-во
1 506 40 76-10

SUPPORT ASSY
Используется в агрегатах

1 746709 i

Incl. 2-9, 15-20

2 531 14 07-37

SLEEVE
Используется в агрегатах

1 75716 i
3 504 02 10-01

DECAL
Используется в агрегатах

1 7626 i
4 531 14 07-35

SCREW
Используется в агрегатах

1 20019 i
5 504 02 09-01

FORK
Используется в агрегатах

1 96604 i
6 531 14 07-38

PLUG
Используется в агрегатах

2 1546 i
7 531 14 07-39

SLEEVE
Используется в агрегатах

1 41341 i
8 531 14 06-76

WASHER
Используется в агрегатах

1 9574 i
9 506 40 77-15

JUSTERVRED
Используется в агрегатах

1 20889 i

Incl. 10, 11

10 531 14 06-75

SLEEVE
Используется в агрегатах

1 5305 i
11 501 38 46-04

HANDLE
Используется в агрегатах

1 12186 i

Incl. 12-14

12 504 01 81-02

HANDLE
Используется в агрегатах

1 11751 i
13 501 38 47-02

SPRING
Используется в агрегатах

1 1743 i
14 501 38 60-02

SCREW
Используется в агрегатах

1 2305 i
15 506 40 76-12

RETAINER
Используется в агрегатах

1 221489 i
16 531 14 06-79

SCREW
Используется в агрегатах

2 1743 i
17 531 14 07-43

SCREW
Используется в агрегатах

1 31768 i
18 531 14 06-23

PEN
Используется в агрегатах

2 2356 i
19 531 14 06-24

WHEEL
Используется в агрегатах

2 21999 i
20 531 14 06-27

WASHER
Используется в агрегатах

6 2612 i