Заказы на запчасти принимаются строго через сайт путем добавления в корзину или лично в магазине.
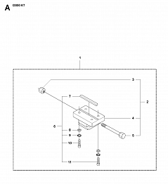
1 РАМА | DS50 AT, 2007-01 стойка для бурения Husqvarna | алмазное бурение |
2 ТРАНСПОРТИРОВКА | DS50 AT, 2007-01 стойка для бурения Husqvarna | алмазное бурение |
3 ОСНОВНАЯ ПЛИТА | DS50 AT, 2007-01 стойка для бурения Husqvarna | алмазное бурение |
4 КОЛОННА В СБОРЕ | DS50 AT, 2007-01 стойка для бурения Husqvarna | алмазное бурение |
5 ИНСТРУМЕНТЫ | DS50 AT, 2007-01 стойка для бурения Husqvarna | алмазное бурение |